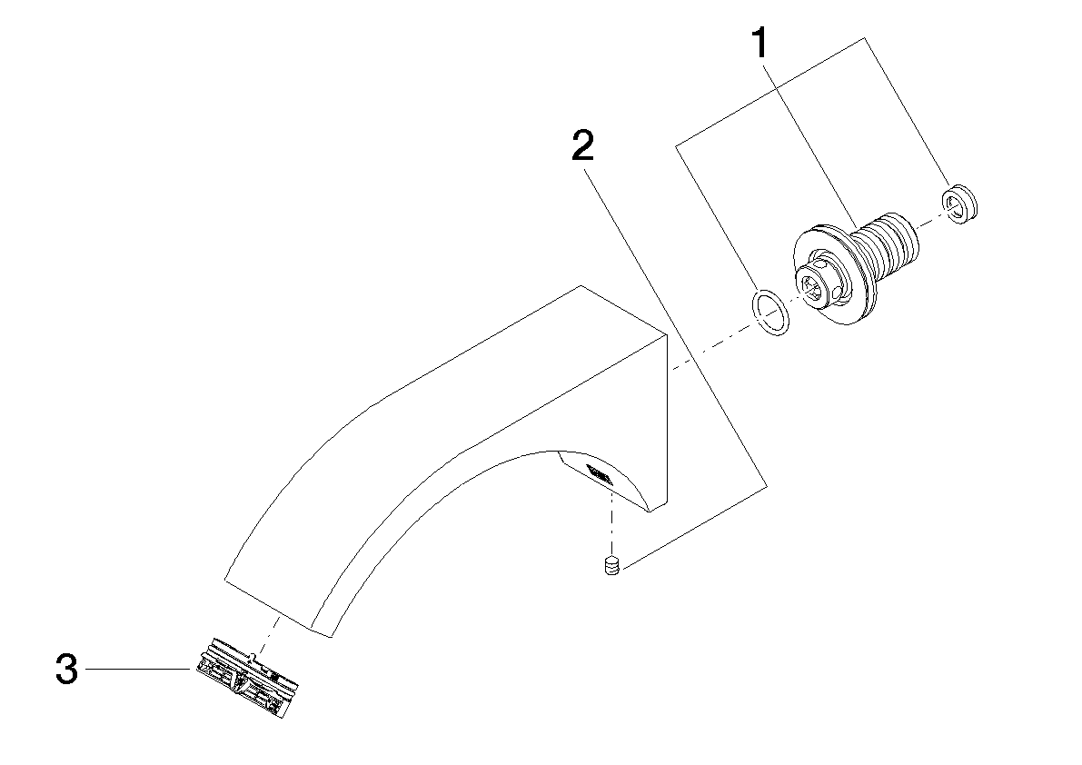
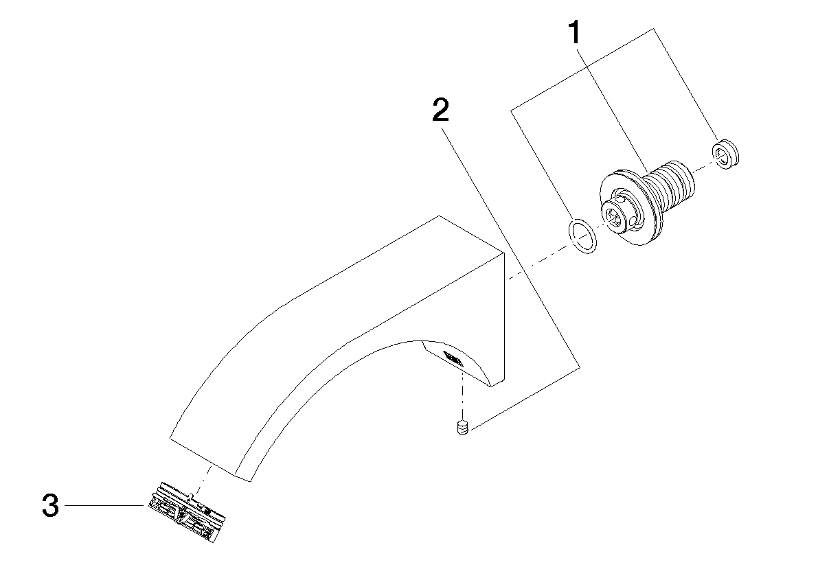
CYO wuitl. v. wmontage z.afvoer Messing gebors. 13805811-28 Dornbracht
4614670
MFG #: 13805811-28
€1.364,60
/ 1.00
- Merk: Dornbracht
- Serie: CYO
- Type: STD
