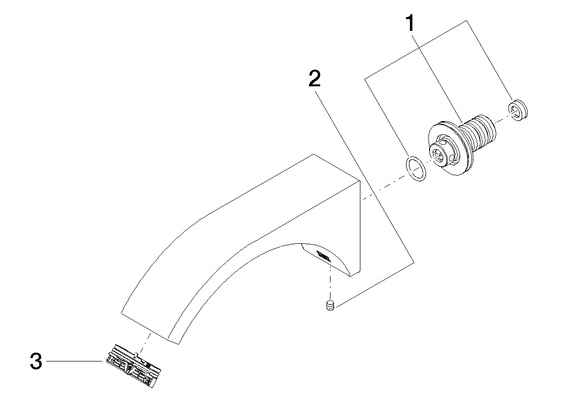
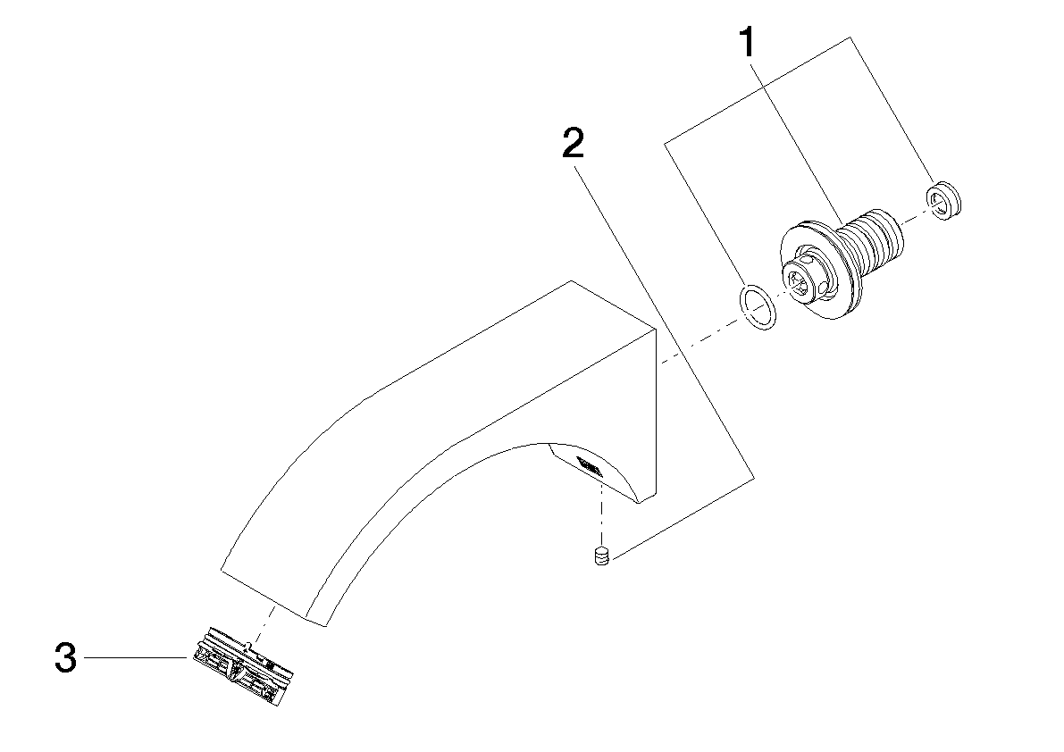
CYO wuitloop v. wmontage z.afvoer Dark Chrome 13805811-19 Dornbracht
4616926
MFG #: 13805811-19
€974,80
/ 1.00
- Merk: Dornbracht
- Serie: CYO
- Type: STD
